Индикаторы коррозии тепловых сетей
Индикаторы коррозии труб ИКТ и тепловых сетей
Индикаторы коррозии труб ИКТ необходимы для оценки состояния тепловых сетей, возможности их дальнейшей эксплуатации. Для предотвращения преждевременного разрушения тепловых контуров на основании исследований проводят антикоррозионные мероприятия.

Устройства для мониторинга интенсивности процессов внутренней коррозии трубопроводов врезают в тепловую сеть. Теплоноситель при движении омывает образцы, закрепленные на специальном держателе. После экспозиции кусочки стали исследуют с помощью химического и металлографического методов. Они взвешиваются, по потере массы или ее увеличении за счет образовавшихся продуктов коррозии вычисляется усредненная скорость коррозии труб.
Индикаторы ИХЛ, ИКТ с доставкой
Гравиметрический метод контроля ценится за универсальность, простоту реализации, применим для магистралей любой конфигурации с любым типом теплоносителя. Установка гравиметрических индикаторов регламентирована СНиПом 41-02-2003, является обязательным условием эксплуатации подающих и обратных водяных трубопроводов. Их монтируют в местах возможного поступления воздуха в систему и наиболее уязвимых точках тепловой сети.
Конструктивные особенности индикаторов коррозии
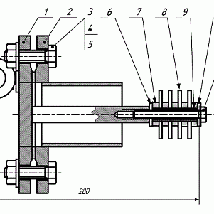
ИКТ, изготовленные в соответствии ТУ 4938−004−59407620−2006, представляют собой металлические конструкции фланцевого и муфтового типа. На трубчатом корпусе предусмотрена съемная крышка, к ней крепится шток-держатель образцов из того же металла, из которого изготовлены трубы теплопровода. Шток, другие детали ИК из углеродистой стали покрыты изоляционными материалами для увеличения эксплуатационного ресурса. Узлы крепятся с помощью приварных фланцев или с применением муфт.
Все коррозиметры конструктивно можно разделить на три большие группы:
ИКТ-30 мф, ИКТ-30 мф, ИКТ-40 – аналог ИКТ 30 в муфтовом (мм) или фланцевом (мф) исполнении, для извлечения образцов необходимо снять давление в системе;
· с отсечными кранами, не требующие слива воды из теплопровода ИКТ-31 мм, ИКТ-31 мф, ИКТ-50 –
аналог ИКТ-31;
· с теплоизолированным клапаном ИКТ-60 для установки внутри зданий и на уличных магистралях.
Все они помогают своевременно обнаружить разрушительное влияние теплоносителя на металл, монтируются в соответствии с РД 153-34.1-17.465-00. Горячая вода при движении по трубопроводу, постоянно омывает образцы-свидетели в специальной сборке. На штоке одновременно крепится несколько образцов в удалении друг от друга. По изменениям каждого из образцов-свидетелей вычисляют среднее значение коррозионных изменений

ИКТ-60 с теплоизоляцией
Выпускают модификации для врезки в трубы большого и маленького диаметра. Индикатор применяется в обогреваемых помещениях (маркируется ОП) и в магистралях, находящихся на открытом воздухе. Возможно любое климатическое исполнение индикатора, имеются варианты для районов Крайнего Севера и умеренных широт.
Модель представляет собой часть трубы, в которую врезан патрубок. Теплоизолированный герметичный клапан выполняет функцию заглушки. К нему с внутренней стороны крепятся шайбы-индикаторы. Коррозионная агрессивность подготовленной воды определяется по потере массы образцов.
Эксплуатационные характеристики индикаторов коррозии ИКТ
| параметр | единицы измерения | значение |
| Dн (наружный размер трубопровода) | мм | 32 –720 |
| критическая температура нагрева воды в системе | °С | +115 |
| минимальная температура окружающей среды | -60 | |
| давление рабочей среды | МПа/ кгс/см2 | 1,6/ 158 |
Узлы установки образцов ИКТ-30, ИКТ-31 и их аналогов
Конструкции с условным проходом до 40 мм во многом схожи, отличаются по способу установки. Модели ИКТ-ИХЛ30, ИКТ-40 непосредственно врезают в тепловой контур.
Они становятся частью системы.
Индикаторы коррозии ИКТ в отличие от других индикаторов прочные, выдерживают опрессовки до 4 Мпа, испытательное давление до 55 кгс/см2.

Главный их недостаток – извлечение образцов возможно только при сезонном отключении сетей, проведении профилактических работ. ИХЛ31 – усовершенствованные модификации с раструбом и с отсечными кранами. Извлекать образцы-свидетели, менять их удобно в период отопительного сезона. Дополнительной опцией является клапан для спуска воздуха. Он препятствует завоздушиванию коррозиметра, результаты узла контроля коррозии будут более достоверными.
Цена от завода производителя на индикаторы коррозии труб и тепловых сетей

МеталлЭнергоХолдинг - надежный поставщик металлопроката более 11 лет
Экспортные поставки
Успешно сотрудничаем с зарубежными компаниями
Экспортные поставки
Предприятия ВПК
Осуществляем поставки для военно-промышленного комплекса
Предприятия ВПК
Авиакосмос
Снабжение авиационной и космической производственной отрасли
Авиакосмос
Приборостроение
Изготовление сложных деталей и элементов
Приборостроение
Нефтегазодобыча
Оборудование для добычи полезных ископаемых
Нефтегазодобыча
Строительство
Производство и монтаж металлоконструкций, быстровозводимых зданий
Строительство

